Skip to the content
ADVANCED FILTRATION SOLUTIONS
Favorited
Global Network
USA
Europe
Asia
Japan
PRODUCT INFORMATION
CROSS REFERENCES
APPLICATIONS
Contact Dealer
compare products
Print
Export to PDF
Favorite
Air
/ ALA-17050
ALA-17050
Filter Details
Filter Type
Air
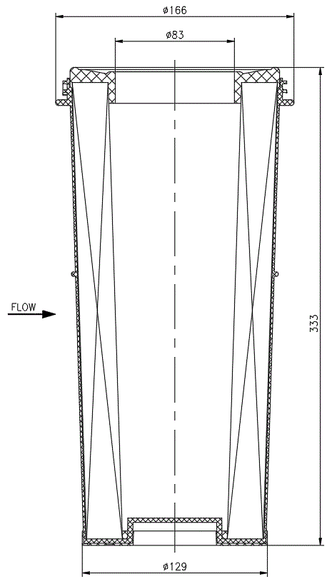
Dimensions (mm)
MM
Inch
Cm
C-Overall Diameter - C
166.0
H-Hight
333.0
E-Weight
0.564
Category:
Air
Tag:
Air&EMEA
COMPRARE PRODUCTS
Move to compare list >
01t8e0000013HBZAA2
39131
ALA-17050
Air - HD